Cómo cambiar el tamaño de un anillo
Un anillo encaja bien cuando ya no se siente en el dedo.
Si con el tiempo el tamaño del dedo cambia o si el anillo debe ser adaptado a otro usuario, es necesario determinar el tamaño del anillo.
El primer paso es determinar el tamaño del dedo, lo cual se hace con un medidor de anillos, un juego de unos 30 anillos de acero en tamaños graduados.
Existen diferentes formas o métodos sobre cómo cambiar el tamaño de los anillos para que se ajusten al usuario que todo joyero debe conocer.
Si el cliente dispone de un anillo cómodo para utilizar como guía, se mide su talla en un palito graduado.

En Alemania, los tamaños de los anillos se describen por el diámetro del agujero del dedo o la circunferencia interior; en Francia y Estados Unidos, los tamaños se miden mediante un número, donde los números más altos indican tamaños más grandes.

Seleccionar la talla de anillo correcta no es tan sencillo como podría parecer a primera vista.

13.3 Posibles errores de medición
a) forma del dedo
b) tamaño del anillo
c) anillo con piedra puntiaguda saliente
d) vástago no circular
Existe un desafío adicional para las personas con dedos delgados y huesudos.


13.4 Lectura del bastón anular (tamaño 52)
Lo que necesitará para cambiar el tamaño de los anillos
Anillos de sierra abiertos
Aunque no se trata realmente de reparación de joyas, a veces le corresponde a un orfebre cortar un anillo que ya no se puede quitar del dedo.

Una solución es utilizar un marco de sierra de joyero con una hoja gruesa.

13.5 Cortar con el cortador de anillas
Agrandar los anillos de boda
Cuando es necesario agrandar ligeramente una banda simple, a menudo es posible lograrlo mediante estiramiento mecánico.

Ampliación de anillos de gemas
Los anillos con piedras no se pueden estirar sobre un mandril debido a la tensión que esto ejerce sobre la piedra.

13.8 Máquina para agrandar anillos
Inserte una pieza de metal que combine perfectamente en color y haga una costura ajustada en ambos extremos (figura 13.9).
Dimensionamiento de bandas lisas
Cuando es necesario hacer un poco más pequeña una alianza de boda básica o un anillo similar, el primer método de elección es comprimirlo.

13.12 Reducción de anillo de boda
a) punzón y placa reductora
b) compresión de vaina de cobre
c) reducción con revestimiento de plástico: 1. revestimiento de plástico 2. anillo 3. orificio de reducción en forma de cono.
Cómo dimensionar los anillos con gemas
Se sacan la piedra o piedras y se corta el vástago del anillo, nuevamente exactamente donde se han hecho las uniones anteriores, si es que las hay.

Con engastes de piedras más grandes y cabezas de anillos delicadas, existe el peligro de que la cabeza del anillo se doble y deforme con cualquiera de los métodos descritos anteriormente.

13.14 Estrechamiento del diámetro interior mediante la inserción del anillo interior

Existen diferentes formas o métodos sobre cómo cambiar el tamaño de los anillos para que se ajusten al usuario que todo joyero debe conocer.
Si el cliente dispone de un anillo cómodo para utilizar como guía, se mide su talla en un palito graduado.

En Alemania, los tamaños de los anillos se describen por el diámetro del agujero del dedo o la circunferencia interior; en Francia y Estados Unidos, los tamaños se miden mediante un número, donde los números más altos indican tamaños más grandes.

Seleccionar la talla de anillo correcta no es tan sencillo como podría parecer a primera vista.
Por un lado, los dedos no son redondos sino que tienen una sección transversal como la primera imagen de la figura 13.3. Además, todos sabemos que nuestros dedos se hinchan ligeramente a lo largo del día; para algunas personas esto puede suponer un cambio significativo. Y, por supuesto, en los días calurosos nuestros dedos se hinchan aún más, mientras que en climas fríos puede parecer que se encogen.
No es de extrañar que sea difícil hacer que los anillos le queden bien.

13.3 Posibles errores de medición
a) forma del dedo
b) tamaño del anillo
c) anillo con piedra puntiaguda saliente
d) vástago no circular
Existe un desafío adicional para las personas con dedos delgados y huesudos.
Por supuesto, el anillo debe ser lo suficientemente grande como para deslizarse sobre el nudillo, pero si hay poca piel en la base del dedo, el anillo se deslizará de manera incómoda.
Además, las bandas más anchas deberán ser un poco más grandes que las estrechas porque las bandas anchas atrapan la piel debajo de ellas.
Las bandas que tienen una abertura debajo de una piedra o que de alguna otra manera permiten que la piel del dedo se hinche hacia arriba pueden permitirse ser un poco más pequeñas que el mismo anillo sin esa abertura.
Quizás sería mejor si todos los anillos adoptaran la forma real del dedo en lugar de un círculo perfecto, pero para bien o para mal, ese es el sistema que se utiliza más ampliamente.
Quizás sería mejor si todos los anillos adoptaran la forma real del dedo en lugar de un círculo perfecto, pero para bien o para mal, ese es el sistema que se utiliza más ampliamente.
Al final lo que importa es crear un ajuste cómodo, independientemente de su tamaño.
Los clientes que insisten en usar una talla específica se condenan a un mal ajuste.
De manera similar, cuando el tamaño de un anillo se entrega como un trozo de cuerda o una marca en una tira de papel, esta información debe tomarse a la ligera, ya que esos dispositivos tienen más flexibilidad que el metal del anillo final.
Cuando se verifica el tamaño de un anillo en una varilla para anillos, la medida se lee en el borde que hace contacto con la varilla para anillos (figura 13.4).
Cuando se verifica el tamaño de un anillo en una varilla para anillos, la medida se lee en el borde que hace contacto con la varilla para anillos (figura 13.4).
Aunque no debería suceder que la culeta de una piedra sobresalga en la zona del dedo del anillo, a veces ocurre.
Estos anillos se pueden medir en un palo para anillos que tiene una ranura que discurre a lo largo de su eje vertical.

13.4 Lectura del bastón anular (tamaño 52)
Lo que necesitará para cambiar el tamaño de los anillos
Anillos de sierra abiertos
Aunque no se trata realmente de reparación de joyas, a veces le corresponde a un orfebre cortar un anillo que ya no se puede quitar del dedo.
Esto sucede con mayor frecuencia porque una lesión o enfermedad ha causado que la mano se hinche, pero podría ser simplemente una cuestión de apegarse a sus joyas.
La primera alternativa es sumergir el dedo en agua fría y cubrirlo con jabón líquido.
La primera alternativa es sumergir el dedo en agua fría y cubrirlo con jabón líquido.
Mantenga la mano verticalmente en el aire, permitiendo que la sangre drene, e intente por última vez quitar el anillo.
Si eso falla, será necesario cortar el anillo.
Una solución es utilizar un marco de sierra de joyero con una hoja gruesa.
Inserte una hoja al revés de modo que los dientes apunten hacia la parte posterior del marco y deslice la hoja entre la piel y el vástago del anillo.
Corte hacia arriba, lejos de la mano.
Una mejor solución es utilizar un cortador de anillos hecho específicamente para este propósito, como se muestra aquí en la figura 13.5.
Una mejor solución es utilizar un cortador de anillos hecho específicamente para este propósito, como se muestra aquí en la figura 13.5.
La palanca presionada aquí con el pulgar izquierdo presiona el anillo contra una sierra circular que se gira con la otra mano para cortar el anillo.
Luego se utilizan unos alicates formadores de anillos para doblar el anillo y abrirlo lo suficiente como para permitir que se deslice.

13.5 Cortar con el cortador de anillas
Agrandar los anillos de boda
Cuando es necesario agrandar ligeramente una banda simple, a menudo es posible lograrlo mediante estiramiento mecánico.
La cantidad y variedad de herramientas fabricadas para lograr esto dan una idea de cuán común es esta reparación.
El estiramiento es más rápido y menos agresivo que la alternativa de insertar una pieza extra de metal y siempre debe considerarse.
Un dispositivo utiliza un accesorio para un laminador para redistribuir el metal de tal manera que el anillo se haga más grande.
Un dispositivo utiliza un accesorio para un laminador para redistribuir el metal de tal manera que el anillo se haga más grande.
Si el vástago se hace más delgado, el metal que solía verse como grosor se ha ido a alguna parte.
¿Dónde?
Se ha empujado hacia afuera o se ha alargado, lo que hace que el anillo sea un poco más grande.
13.6 Máquina dimensionadora (estiradora)
a) modo de acción
b) perfil coincidente
c) un perfil demasiado plano
d) un perfil demasiado estrecho
e) un perfil demasiado profundo
a) modo de acción
b) perfil coincidente
c) un perfil demasiado plano
d) un perfil demasiado estrecho
e) un perfil demasiado profundo

13.7 Ampliación mediante estiramiento
a) mandril anular
b) mandril de ampliación (antes y después del estiramiento)
c) cabeza de resorte del mandril de ampliación (antes y después del estiramiento)
Otra alternativa es recocer el anillo y luego deslizarlo sobre un mandril de anillo de acero ligeramente engrasado.
a) mandril anular
b) mandril de ampliación (antes y después del estiramiento)
c) cabeza de resorte del mandril de ampliación (antes y después del estiramiento)
Otra alternativa es recocer el anillo y luego deslizarlo sobre un mandril de anillo de acero ligeramente engrasado.
Golpee suavemente el anillo con un mazo de madera, cuero o plástico como se muestra en la figura 13.7a para estirarlo.
Debido a la naturaleza cónica del mandril, es importante quitar el anillo, invertirlo y repetir el proceso.
Una variación de esto que evita la posibilidad de estropear un anillo con golpes de mazo es el uso de una herramienta llamada Schwaan Ring Stretcher.
Una variación de esto que evita la posibilidad de estropear un anillo con golpes de mazo es el uso de una herramienta llamada Schwaan Ring Stretcher.
La herramienta consta de un mandril cónico con un núcleo hueco que se ha dividido en cuatro segmentos verticales (figura 13.7b).
El anillo se coloca sobre esta varilla y se introduce un cono de acero sólido más pequeño en la primera unidad con un mazo. Esto tiene el efecto de estirar los pétalos y por lo tanto el anillo, aunque no hay contacto directo con el anillo en sí.
Esto debe hacerse lentamente y con mucho cuidado para que el anillo no se rompa.
La figura 13.7c muestra una máquina de estiramiento desarrollada por Fisher Company en Pforzheim.
La figura 13.7c muestra una máquina de estiramiento desarrollada por Fisher Company en Pforzheim.
La máquina utiliza un casquillo interno del tamaño previsto para evitar que el proceso de estiramiento vaya demasiado lejos e incluye un anillo de cobre que protege la pieza de joyería para que no se dañe.
No importa cuán sofisticada sea la herramienta, cualquier estiramiento tensionará el metal y siempre existe el riesgo de que el anillo se rompa.
No importa cuán sofisticada sea la herramienta, cualquier estiramiento tensionará el metal y siempre existe el riesgo de que el anillo se rompa.
Más que eso, existe un límite en cuanto a hasta qué punto se puede estirar un anillo.
Como se mencionó, siempre vale la pena considerarlo, pero hay muchos casos en los que será necesaria una técnica más radical.
Ampliación de anillos de gemas
Los anillos con piedras no se pueden estirar sobre un mandril debido a la tensión que esto ejerce sobre la piedra.
Existe el peligro de romper la gema, o al menos de sacarla de su engaste.
Cuando se trata de piedras, y si el agrandamiento es leve, se recomienda una herramienta como la que se muestra en la figura 13.8.
El dispositivo tiene varios troqueles con ranuras de diferentes formas que imitan la sección transversal del vástago del anillo.
El dispositivo tiene varios troqueles con ranuras de diferentes formas que imitan la sección transversal del vástago del anillo.
Seleccione el que corresponda al anillo que está estirando y fíjelo al poste vertical de la máquina.
A continuación se fuerza el anillo contra éste para forjar localmente el vástago.
Como se mencionó anteriormente, la acción intercambia espesor por longitud, presionando el anillo de una manera tan controlada que el cambio es imperceptible.
Por supuesto, existe un límite para el estiramiento que se puede realizar de esta manera, no solo porque el metal se endurece al estirarse, sino que el vástago podría eventualmente adelgazarse demasiado.
Si no se pueden utilizar estos métodos, normalmente porque el aumento de tamaño deseado es demasiado grande, entonces se debe insertar una pieza de metal en el vástago.
Si no se pueden utilizar estos métodos, normalmente porque el aumento de tamaño deseado es demasiado grande, entonces se debe insertar una pieza de metal en el vástago.
Primero examine el vástago de cerca para ver si ya hay una línea de soldadura.
Se puede calentar ligeramente un vástago para revelar la diferencia de color en la línea de soldadura.
Si hay una línea, corte el anillo para abrir esa costura existente. Si no parece haber una unión anterior, corta el anillo en el punto opuesto a la piedra, asegurándote de no cortar ningún contraste o grabado.

13.8 Máquina para agrandar anillos
Inserte una pieza de metal que combine perfectamente en color y haga una costura ajustada en ambos extremos (figura 13.9).
No es crítico que la sección transversal del inserto coincida; de hecho, tiene la ventaja de tenerlo un poco más grande que el vástago.
Después de soldar, el exceso se lima para mezclar las piezas.
En la mayoría de los casos, es posible limar el inserto para que encaje en su lugar y, aunque esto puede requerir algo de trabajo, la costura invisible resultante vale la pena.
Cuando no se pueda hacer que la nueva sección permanezca en su lugar, use una pieza delgada de acero y alambre de atar como se muestra en la figura 13.10 para mantener las piezas juntas para soldar.
13.9 Ampliación insertando piezas.
En la imagen se resumen algunas ideas útiles sobre cómo se puede unir una pieza insertada en su lugar para soldar.
13.10 Fijación de la pieza insertada.
Si el anillo contiene piedras sensibles al calor, esto complica la soldadura.
Si el anillo contiene piedras sensibles al calor, esto complica la soldadura.
El ámbar, el coral y las perlas son tan sensibles que es necesario eliminarlas si se utiliza una llama de soldadura normal.
Si es posible, se deben retirar las gemas sensibles.
Si esto no es posible, es necesario protegerlas del calor.
Se han recomendado numerosas posibilidades, todas ellas basadas en el concepto de que la piedra se empaqueta en material húmedo para que el calor de la soldadura hierva el agua en lugar de transmitirse a la piedra.
Aunque primitiva, una solución es proteger las piedras envolviéndolas en una papa cruda.
Aunque primitiva, una solución es proteger las piedras envolviéndolas en una papa cruda.
Cortar un agujero y presionar la piedra y montarla en él, añadiendo trozos de papa hasta enterrarlos por completo.
Se encuentran disponibles comercialmente una variedad de materiales aislantes moldeables a través de empresas de herramientas y suministros.
Se encuentran disponibles comercialmente una variedad de materiales aislantes moldeables a través de empresas de herramientas y suministros.
Estos se pueden empaquetar alrededor de la piedra como si fueran plasticina.
En la figura 13.11 se muestra una variación que se utiliza mejor junto con un aislante térmico.
Las piezas de la tapa (c) se deslizan sobre el anillo y se unen a la caja (b) que se llena con agua o con una pasta aislante.
La unidad ensamblada se muestra en 13.11d, lista para soldar.

13.11 Aparato para soldar anillos de piedra.
a) Anillo preparado
b) Aparato abierto
c) tapa del aparato
d) aparato cerrado con anillo listo para soldar
Siempre es mejor si se puede utilizar una llama pequeña y muy caliente en reparaciones que incluyan piedras preciosas.

13.11 Aparato para soldar anillos de piedra.
a) Anillo preparado
b) Aparato abierto
c) tapa del aparato
d) aparato cerrado con anillo listo para soldar
Siempre es mejor si se puede utilizar una llama pequeña y muy caliente en reparaciones que incluyan piedras preciosas.
El microsoplete es capaz de calentar el metal tan rápidamente que el calor no tiene tiempo de fluir desde la zona de la unión al resto de la pieza.
El lema es entrar y salir lo más rápido posible.
Deje que estas reparaciones se enfríen al aire, incluso si cree que el calor no ha llegado a la piedra.
Deje que estas reparaciones se enfríen al aire, incluso si cree que el calor no ha llegado a la piedra.
Es un error terrible completar correctamente una soldadura de reparación sin dañar una gema sólo para que la impaciencia rompa la piedra debido al choque térmico.
Recuerda esto:
Recuerda esto:
Un anillo grueso conduce el calor más rápidamente que uno delgado.
Un anillo de plata conduce mejor el calor que uno de oro.
Incluso las piedras resistentes al calor pueden agrietarse y romperse debido a problemas estructurales internos.
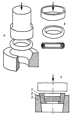
Dimensionamiento de bandas lisas
Cuando es necesario hacer un poco más pequeña una alianza de boda básica o un anillo similar, el primer método de elección es comprimirlo.
Al igual que su correspondiente compañero, el estiramiento, este es un proceso rápido, eficiente y menos intrusivo.
Y al igual que el estiramiento, sólo se puede utilizar cuando el cambio de tamaño es pequeño.
Una máquina medidora de anillos consta de una serie de cavidades cónicas o semiesféricas y un yunque plano que se utiliza para presionar el anillo dentro de ellas.
Una máquina medidora de anillos consta de una serie de cavidades cónicas o semiesféricas y un yunque plano que se utiliza para presionar el anillo dentro de ellas.
Recueza el anillo y selecciona una abertura que sea lo suficientemente grande para contener el anillo, como se ve en la figura 13.12a.
Aplique un poco de presión al ariete, luego dé la vuelta al anillo y repita el proceso.
Verifique repetidamente para asegurarse de no ir demasiado lejos y recuerde recocer periódicamente si está comprimiendo mucho.
Si el anillo está hecho de varios metales, por ejemplo de oro blanco y oro amarillo, este método es limitado e incluso podría provocar la rotura de los dos metales porque tienen diferentes velocidades de compresión.
Si el anillo está hecho de varios metales, por ejemplo de oro blanco y oro amarillo, este método es limitado e incluso podría provocar la rotura de los dos metales porque tienen diferentes velocidades de compresión.
Si la superficie exterior del anillo está facetada, cincelada o grabada, protéjala colocando una banda de cobre alrededor del anillo para absorber la tensión en el punto de contacto (figura 13.12b).
Una variación de este dispositivo, que se muestra en la figura 13.12c, utiliza un casquillo para proteger la superficie exterior del anillo.

13.12 Reducción de anillo de boda
a) punzón y placa reductora
b) compresión de vaina de cobre
c) reducción con revestimiento de plástico: 1. revestimiento de plástico 2. anillo 3. orificio de reducción en forma de cono.
Cómo dimensionar los anillos con gemas
Se sacan la piedra o piedras y se corta el vástago del anillo, nuevamente exactamente donde se han hecho las uniones anteriores, si es que las hay.
Recuerde revisar el interior de la banda en busca de sellos y grabados y evitarlos.
El vástago se dobla para que los extremos se junten para formar una costura apretada, y aquí nuevamente es importante limar las superficies para que formen una unión limpia.
De no hacerlo, se producirá una soldadura imperfecta que dejará irregularidades o hoyos; en el proceso de limarlos, es fácil que el vástago quede demasiado pequeño.
En el caso de anillos delgados, lime las dos superficies de unión en ángulo para aumentar el contacto de la superficie y así hacer una unión más fuerte.
En el caso de anillos de hombre de gran tamaño, puede resultar muy difícil o incluso imposible doblar el metal hasta alcanzar el tamaño deseado.
En el caso de anillos de hombre de gran tamaño, puede resultar muy difícil o incluso imposible doblar el metal hasta alcanzar el tamaño deseado.
En estos casos es aconsejable, como se muestra en la figura 13.13, sacar una pieza en forma de cuña.
Con engastes de piedras más grandes y cabezas de anillos delicadas, existe el peligro de que la cabeza del anillo se doble y deforme con cualquiera de los métodos descritos anteriormente.
Los vástagos pueden romperse en la cabeza del anillo o en sus hombros, donde se tensan las uniones de soldadura.
A veces también sucede que un vástago delgado simplemente está desgastado hasta tal punto que ya no se puede reparar con una junta aislada.
Un método probado para tratar un vástago delgado consiste en soldar una pieza en el interior del anillo para fortalecerlo y simultáneamente disminuir el diámetro interior (figura 13.14). Aunque no es tan buena como soldar, esta solución también se puede lograr con un adhesivo fuerte.
Un método probado para tratar un vástago delgado consiste en soldar una pieza en el interior del anillo para fortalecerlo y simultáneamente disminuir el diámetro interior (figura 13.14). Aunque no es tan buena como soldar, esta solución también se puede lograr con un adhesivo fuerte.
13.13 Apriete de anillos de paredes gruesas.

13.14 Estrechamiento del diámetro interior mediante la inserción del anillo interior
Fernando Gatto
Kaia Joyas Uruguay
No hay comentarios.:
Publicar un comentario